PRODUCTS
PRODUCT DESCRIPTION
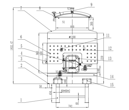
This type of container is designed with forklift holes or frame structures, making it easy for forklifts to be directly inserted into the forks for handling, thereby simplifying the loading and unloading process;

1. Integrated Forklift Pockets (The Non-Negotiable Feature)
This is the defining trait. Every forklift wine tank has heavy-duty, reinforced steel forklift pockets (usually 2–4 pockets, symmetrically placed on the tank’s base or lower side walls). These pockets are engineered to handle the full weight of the tank plus the wine inside (a full 500-gallon tank can weigh over 4,500 lbs!). Crucially, the pockets are flush or recessed—they don’t stick out, so the tank won’t get caught on racks, hoses, or other equipment when being moved. We never use external brackets here—they break too easily under heavy loads.
2. Stackable Design (For Space-Saving Storage)
Most forklift wine tanks are stackable when empty (and sometimes when partially full, with strict weight limits). The top of the tank has a reinforced rim that perfectly fits the base of another tank, so you can stack 2–3 high with a forklift. This is a game-changer for small to medium wineries—you don’t need a huge warehouse to store empty tanks during off-seasons. Pro tip: Always check the manufacturer’s stack rating—never stack full tanks unless they’re explicitly rated for it (most aren’t, for safety reasons).
3. Durable, Lightweight Construction (Balanced for Forklift Handling)
These tanks are almost always made of 304 or 316 stainless steel (food-grade, corrosion-resistant, perfect for acidic wine). But the steel gauge is carefully balanced: thick enough to hold wine without warping, thin enough to be moved by a standard warehouse forklift (no need for a heavy-duty industrial forklift). The base is also reinforced with a solid steel frame—this prevents the tank from bending or cracking when a forklift lifts it, even when it’s full.
4. Portable Size Options (Tailored to Forklift Maneuverability)
Forklift wine tanks come in modular, maneuverable sizes—typically from 50 gallons (small batch testing) up to 1,000 gallons (bulk small-lot production). They’re never made larger than that, because bigger tanks would be too wide/long for a forklift to move safely in a winery (where aisles are often narrow, with low ceilings and tight turns). This portability lets you move the tank directly from the press to the fermentation area, to the aging room, and finally to the bottling line—no need to pump wine between fixed tanks multiple times (which reduces oxidation risk!).
5. Forklift-Friendly Access Points (For Easy Winemaking Tasks)
The valves, sampling ports, and manways (access hatches) are all placed at a height that’s easy to reach when the tank is moved by a forklift. For example, the drain valve is usually on the lower side (but not so low that it hits the forklift tines), and the sampling port is at chest height—so you don’t have to climb a ladder or lower the tank to take a wine sample. Some models even have a forklift-adjustable height marker—so the operator can lift the tank to the exact height needed to connect to hoses or bottling lines, no extra stands required.
6. Impact-Resistant Exteriors (For Warehouse Handling)
Let’s be real—forklifts aren’t always perfect. These tanks have reinforced corner guards and scratch-resistant finishes on the steel. The forklift pockets are also lined with thick rubber or plastic to prevent the forklift tines from scratching the tank (scratch marks can lead to corrosion over time, which ruins the wine). This makes them much more durable than standard non-forklift wine tanks, which get damaged easily if you try to move them with heavy equipment.
7. Compatible with Standard Winery Accessories (No Special Tools Needed)
Forklift wine tanks work with all the standard winery gear you already have: cooling jackets, heating elements, racking arms, and bungs. The only difference is that you can move the tank with all these accessories attached (as long as they’re secured) using a forklift. This saves so much time—you don’t have to disconnect and reconnect hoses every time you move the tank. For example, you can ferment wine in the tank, attach a cooling jacket, move it to the cold room with a forklift, and let it age—all without touching the wine inside.
Get a quote
Packing and shipping
Recommended products